Mexen Helios kylpyhuoneen lämmitin 800 x 500 mm, 301 W, kultainen - W103-0800-500-00-50

Mexen Helios kylpyhuoneen lämmitin 800 x 500 mm, 301 W, kultainen - W103-0800-500-00-50

Mexen Helios kylpyhuoneen lämmitin 800 x 500 mm, 301 W, kultainen - W103-0800-500-00-50
search
  • Mexen Helios kylpyhuoneen lämmitin 800 x 500 mm, 301 W, kultainen - W103-0800-500-00-50
  • Mexen Helios kylpyhuoneen lämmitin 800 x 500 mm, 301 W, kultainen - W103-0800-500-00-50
  • Mexen Helios kylpyhuoneen lämmitin 800 x 500 mm, 301 W, kultainen - W103-0800-500-00-50
  • Mexen Helios kylpyhuoneen lämmitin 800 x 500 mm, 301 W, kultainen - W103-0800-500-00-50
  • Mexen Helios kylpyhuoneen lämmitin 800 x 500 mm, 301 W, kultainen - W103-0800-500-00-50
  • Mexen Helios kylpyhuoneen lämmitin 800 x 500 mm, 301 W, kultainen - W103-0800-500-00-50
  • Mexen Helios kylpyhuoneen lämmitin 800 x 500 mm, 301 W, kultainen - W103-0800-500-00-50
Mexen Helios kylpyhuoneen lämmitin 800 x 500 mm, 301 W, kultainen - W103-0800-500-00-50
Mexen Helios kylpyhuoneen lämmitin 800 x 500 mm, 301 W, kultainen - W103-0800-500-00-50 Mexen Helios kylpyhuoneen lämmitin 800 x 500 mm, 301 W, kultainen - W103-0800-500-00-50 Mexen Helios kylpyhuoneen lämmitin 800 x 500 mm, 301 W, kultainen - W103-0800-500-00-50 Mexen Helios kylpyhuoneen lämmitin 800 x 500 mm, 301 W, kultainen - W103-0800-500-00-50 Mexen Helios kylpyhuoneen lämmitin 800 x 500 mm, 301 W, kultainen - W103-0800-500-00-50 Mexen Helios kylpyhuoneen lämmitin 800 x 500 mm, 301 W, kultainen - W103-0800-500-00-50 Mexen Helios kylpyhuoneen lämmitin 800 x 500 mm, 301 W, kultainen - W103-0800-500-00-50
	Teräs Teräs
Maks. 0,6 Mpa Maks. 0,6 Mpa
Max. 95°C Max. 95°C
Mark:
Sarja:
Ean:
5905315071552
Indeksi:
W103-0800-500-00-50
Korkeus:
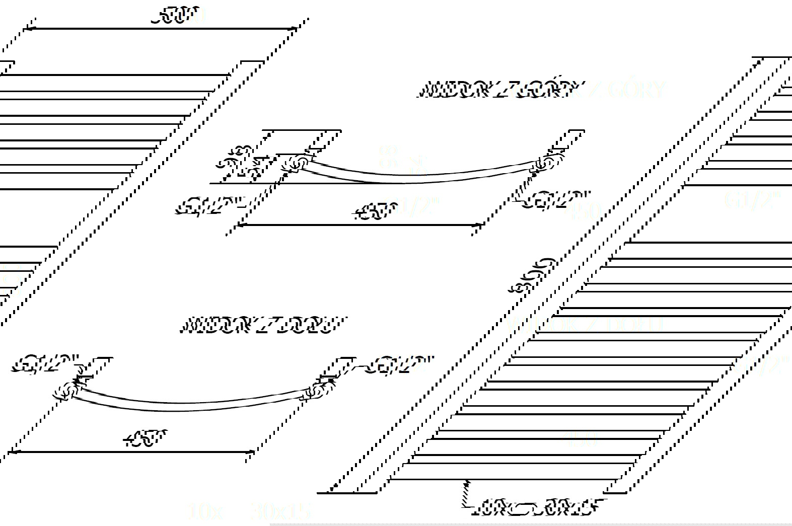
800 mm
Väri:
Leveys:
500 mm
Lämmitystehokeho:
301 W
Leveys - 500 mm - ()
Väri - Kulta - ()

Mexen Helios kylpyhuoneen lämmitin 800 x 500 mm, 301 W, kultainen - W103-0800-500-00-50

Mexen Helios on tyylikäs kultainen kylpyhuoneen lämmitin, jonka mitat ovat 800 x 500 mm. Valmistettu kestävästä teräksestä, siinä on korkea lämmitysteho 301 W lämpötilassa 75/65/20 °C. Lämmitin on paloherkkyysluokkaa A1 ja sen suurin käyttöpaine on 0,6 MPa, mikä takaa turvallisen käytön. Sen suurin käyttölämpötila on 95 °C. Neljän ½″ liitännän ansiosta se on monipuolinen asentamisessa. Pakkaus sisältää ripustimet, asennussarjan ja ilmaventtiilin. Erinomainen lakkapinnoite suojaa korroosiolta, ja mahdollisuus asentaa lämmitin lisää tuotteen toiminnallisuutta.

Tekniset tiedot:

Korkeus: 800 mm

Leveys: 500 mm

Syvyys: 54 mm

Liitäntäetäisyys: 45 cm 

Väri: Kultainen

Materiaali: Teräs

Paino: 6,67 kg

Kapasiteetti: 3,5 l

Paloherkkyys: A1

Käyttölämpötila: max 95 °C 

Suurin käyttöpaine: 0,6 Mpa

Lämmitysteho:

- 75/65/20 °C - 301 W

Liitännät:

- 4xG ½″ ylhäällä ja alhaalla oikealla tai vasemmalla

Mahdollisuus asentaa lämmitin

Korkealaatuinen, kestävä lakkapinnoite, joka on korroosionkestävä

Sisältää: ripustimet, asennussarja, sulkuliitokset ja ilmaventtiili

Tässä tuotteessa käytetty innovatiivisia ratkaisuja

Teräs

Tuote on valmistettu korkealaatuisesta matalahiiliteräksestä, mikä ei ainoastaan vaikuta laitteen pitkään käyttöikään ja korroosionkestävyyteen, vaan myös mahdollistaa nopean huoneen lämmittämisen ja tarjoaa käyttäjille lämpömukavuutta.

Maks. 0,6 Mpa

Maksimi käyttöpaine on 0,6 Mpa (6 baaria). Tämä tarkoittaa, että lämmitin voi toimia turvallisesti ja tehokkaasti tavallisissa käyttöolosuhteissa. Se tarjoaa optimaalisen lämpömukavuuden ja miellyttävän huonelämpötilan.

Max. 95°C

Lämpöpatterin käytön aikana saavutettava maksimilämpötila on 95°C. Tämä mahdollistaa tehokkaan ja tuottavan tilan lämmityksen tarjoten samalla turvallisuutta käyttäjille ja lämmittimen ympärillä oleville pinnoille.

Himmennys- ja korroosionkestävyys

Tuote on valmistettu korkealaatuisista materiaaleista, jotka ovat kestäviä himmenemiselle ja korroosiolle, joten se säilyttää houkuttelevan ulkonäönsä ja toimivuutensa pitkään käytön aikana huoneen kosteustasosta riippumatta.

10 vuoden takuu

Tuote on 10 vuoden takuun alainen. Ostetun tuotteen ongelmatilanteissa kehotamme ottamaan yhteyttä yhteydenottolomakkeen tai puhelimitse asiakaspalvelun numeron kautta.

Sarja
Leveys
500 mm
Korkeus
800 mm
Tyyppi
Lämmitystehokeho
301 W
Väri
Materiaali
Teräs
Kiinnityksen voimakkuus
Yleinen
Syvyys
54 mm
Liitännän väli
45 cm
Liitäntä
Alhaalla
Orientaatio
Pysty
Takuuolosuhteet
Turvallisuustiedot
Käyttöohjeet
Tuottaja

Etkö löytänyt vastausta?

Kirjoita meille

Mexen Helios kylpyhuoneen lämmitin 800 x 500 mm, 301 W, kultainen - W103-0800-500-00-50

Mexen Helios kylpyhuoneen lämmitin 800 x 500 mm, 301 W, kultainen - W103-0800-500-00-50

Listahinta: 244,20 €

195,39 € (sis. ALV)

Halvempi o 48,81 €

19,99%

Alin hinta viimeisten 30 päivän aikana
ennen alennusta: 195,39 €

	Teräs Teräs
Maks. 0,6 Mpa Maks. 0,6 Mpa
Max. 95°C Max. 95°C
Mark:
Sarja:
Ean:
5905315071552
Indeksi:
W103-0800-500-00-50
Korkeus:
800 mm
Väri:
Leveys:
500 mm
Lämmitystehokeho:
301 W
Leveys - 500 mm - ()
Väri - Kulta - ()
Lasku...